三言财经 1月27日消息,据媒体报道,字节跳动近期正布局多个新业务,包括推出元宇宙社交App“派对岛”,上线新搜索产品“悟空搜索”,打造游戏社区产品“灵选”,此外还在测试短距离配送机器人。
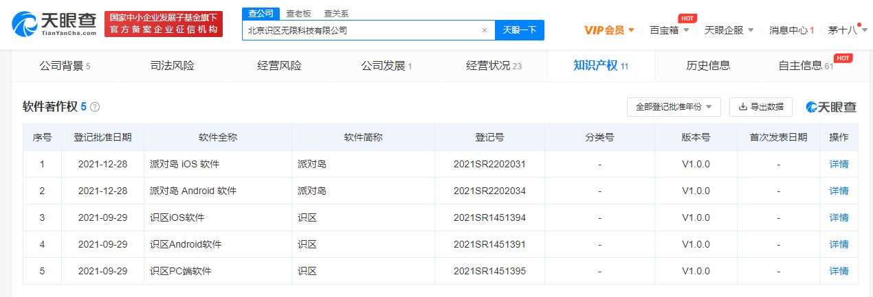
天眼查App显示,“派对岛”iOS及Android版本软件著作权已于2021年12月获登记批准,著作权人为字节跳动旗下北京识区无限科技有限公司。

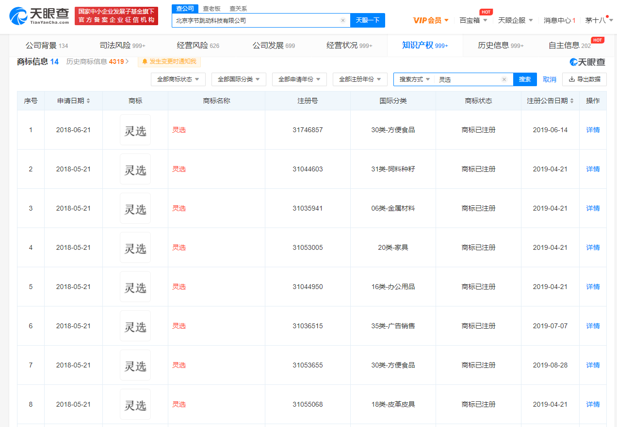
此外,北京字节跳动网络技术有限公司近日申请注册“悟空搜索”商标,国际分类为网站服务,当前商标状态为申请中;“灵选”商标已于2019年完成注册,涉及十余个国际分类,申请人为北京字节跳动科技有限公司。
