取消
加载中...
万象汽车集团被强执4.7亿
2024-05-28 13:17:25

分享

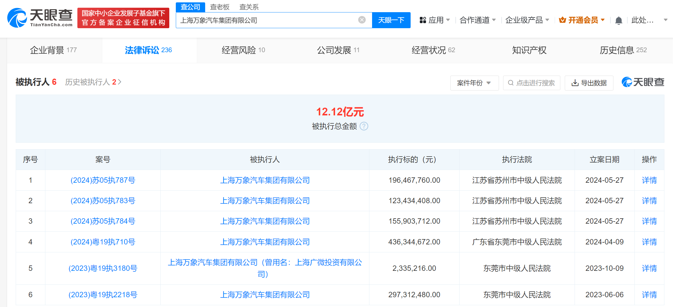
三言科技 5月28日消息,天眼查法律诉讼信息显示,5月27日,上海万象汽车集团有限公司及法定代表人陈伟新增3条被执行人信息,执行标的合计4.75亿余元,执行法院为江苏省苏州市中级人民法院。


上海万象汽车集团有限公司成立于2012年6月,法定代表人、执行董事为陈伟,注册资本约23.14亿人民币。股东信息显示,该公司由天洪控股(苏州)有限公司以及厦门创鼎新能壹号、贰号、三号投资合伙企业共同持股。风险信息显示,该公司现存6条被执行人信息,被执行总金额超12亿元,此外还存在多个股权冻结信息。


1716868664378_44561c9ebe08f39aae49cd7be79580f.png