取消
加载中...
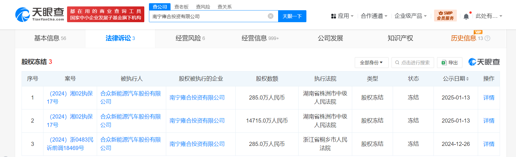
哪吒汽车被冻结1.5亿股权
2025-01-16 09:29:18

分享

天眼查法律诉讼信息显示,近日,哪吒汽车关联公司合众新能源汽车股份有限公司新增两条股权冻结信息,股权被执行的企业为南宁雍合投资有限公司,冻结股权数额合计1.5亿人民币,冻结期限自2025年1月13日至2028年1月12日,执行法院为湖南省株洲市中级人民法院。


微信图片_2025-01-16_092902_398.png


南宁雍合投资有限公司成立于2019年12月,法定代表人为严俊,注册资本1.5亿人民币,经营范围为以自有资金从事投资活动、汽车租赁、二手车经纪,由合众新能源汽车股份有限公司全资持股。