取消
加载中...
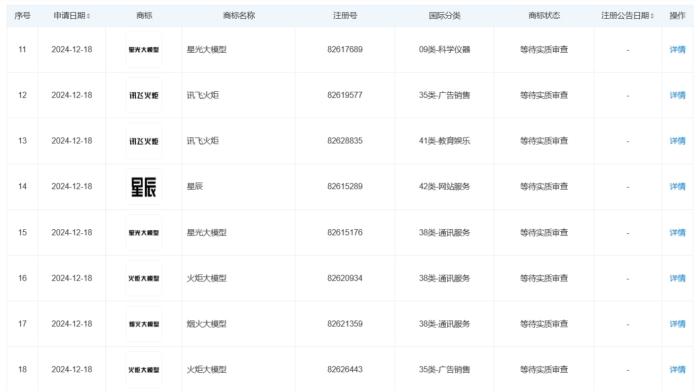
科大讯飞申请注册“烟火大模型”商标
2025-01-17 17:59:57

分享

三言科技 1月17日消息,天眼查知识产权信息显示,近日,科大讯飞股份有限公司申请注册多枚“烟火大模型”“火炬大模型”“星光大模型”商标,国际分类为科学仪器、网站服务、教育娱乐等,当前商标状态均为等待实质审查。


微信截图_20250117175935.png


科大讯飞股份有限公司成立于1999年12月,法定代表人为刘庆峰,注册资本约23.1亿人民币,由中国移动通信有限公司、刘庆峰、中科大资产经营有限责任公司等共同持股。